Friday, May 12, 2017

Led Display Driver Circuit

Led Display Driver Circuit

LED DISPLAY DRIVER BOARD - University Of California, Berkeley
LED DISPLAY DRIVER BOARD 1. Introduction In this project, you will build an LED display driver board. The goal of the circuit is to visually display sensor voltage output(s). Which should you solder first: the LM3914 LED driver IC or the resistors that set the LED current? Why? ... Fetch Content

Photos of Led Display Driver Circuit

How To Drive LEDs - Easy Constant Current Circuit - YouTube
How to Drive LEDs - Easy Constant Current Circuit Kevin Darrah. Loading Unsubscribe from Kevin Darrah? Cancel Unsubscribe. Working Constant current source and laser / LED driver tutorial - Duration: 4:26. Afrotechmods 181,824 views. ... View Video

Led Display Driver Circuit Pictures

4 Inch Character Height 7-segment LED Information Board User ...
2-3. Circuit Diagram 7-segment LED Information Board User’s Guide LED driver chi ps are composed of 2cs 74HC595, 2pcs MMBT9014 and pcs of ULN2003, they are serialized to each other, the first chip receives data from ... Return Doc

Led Display Driver Circuit

LED Solutions For LCD Backlighting - Mouser Electronics
LED Driver ICs System know-how Applications flexibilitiy LED Solutions for LCD Backlighting . Contents LED Solutions for LCD Backlighting LED Array Driver Features/Benefits LED short-circuit and open-channel fault detection ... Fetch This Document

Led Display Driver Circuit Images

LT3746 - 32-Channel 20mA LED Driver With Buck Controller
32-Channel 20mA LED Driver with Buck Controller buck controller. The LED driver lights up to 30mA/13V of LEDs in series per channel, and the buck controller gener - ates an adaptive bus voltage supplying the n Large Screen Display LED Backlighting n Mono-, Multi-, Full-Color LED Displays ... Document Viewer

Surface-conduction Electron-emitter display - Wikipedia
A surface-conduction electron-emitter display the U.S. Court of Appeals for the 5th Circuit reversed the lower court's decision and provided that Canon's "irrevocable and perpetual" non-exclusive licence was still enforceable and Field emission display; Organic light-emitting diode; Notes ... Read Article

Led Display Driver Circuit Pictures

Controlling A Dot Matrix LED Display With A Microcontroller
Matrix Light‐Emitting Diode (LED) display with a microcontroller. The display used is a commercially available PCB mount 8 x 8 dot matrix RGB LED display, with a total of 192 individual LEDs that In‐Circuit program download tool ... Retrieve Doc

Led Display Driver Circuit Photos

Backlight Constant Current Driver - Orient Display
Circuit to drive the LED backlight system, offering much greater accuracy, to display the current at each switch position. Title: Microsoft Word - Backlight Constant Current Driver.doc Author: ODUS3 Created Date: ... Visit Document

Video display Controller - Wikipedia
A video display controller or VDC (also regularly called display engine, more and more functionality is implemented as integrated circuit, KMS driver is an example of a device driver for display controllers and AMD Eyefinity is a special brand of display controller with multi-monitor ... Read Article

Images of Led Display Driver Circuit

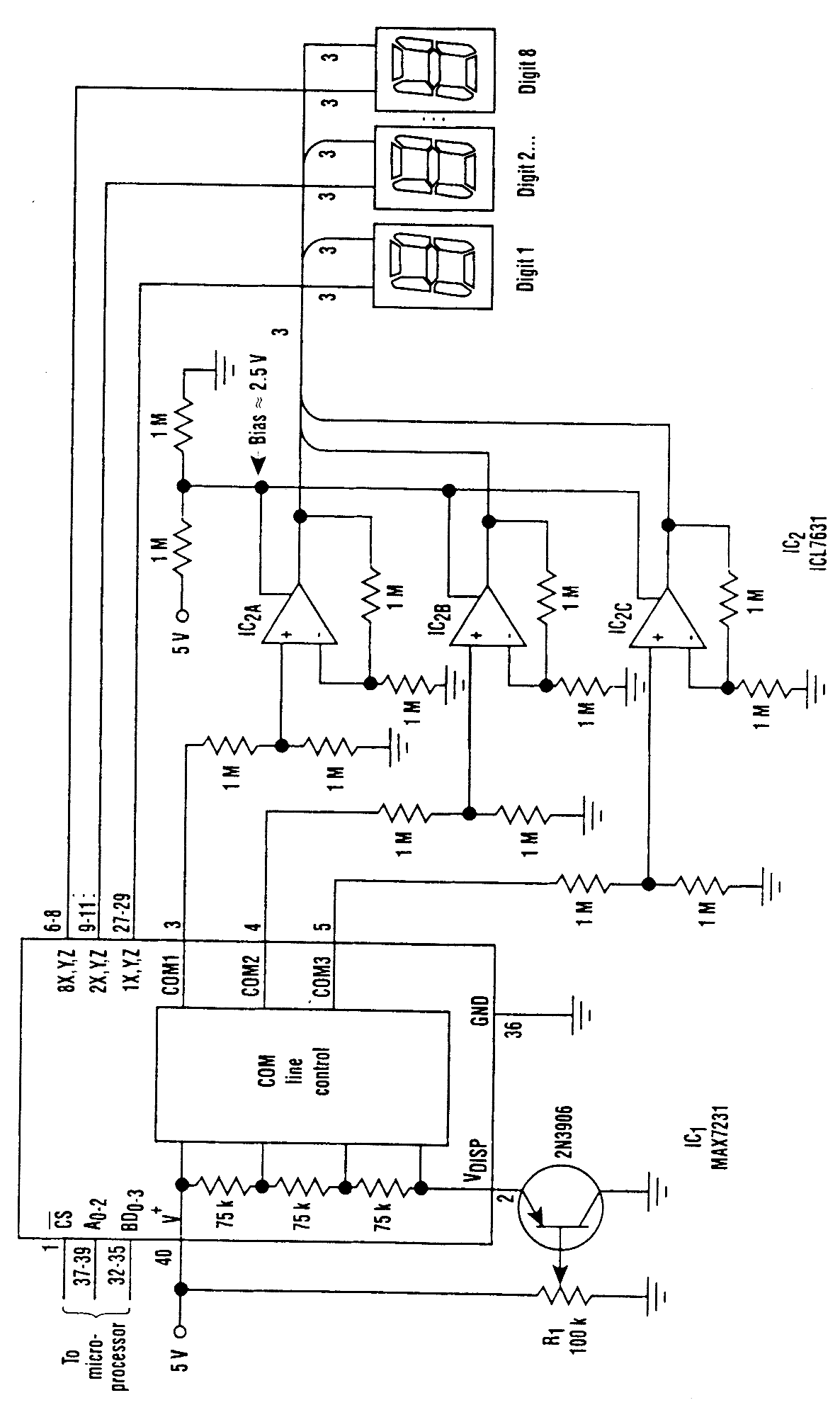
Serially Interfaced, 8-Digit LED Display Drivers
General Description The MAX7219/MAX7221 are compact, serial input/out-put common-cathode display drivers that interface microprocessors (µPs) to 7-segment numeric LED dis- ... Retrieve Content

Led Display Driver Circuit Pictures

P10 LED display Control Card TF-SU 2014 - YouTube
P10 LED display control card TF-SU 2014 Multi-area displays,colorful borders,U disk program update,U disk panel set-up,LED display asynchronous control card. ... View Video

Led Display Driver Circuit

This Week In Odd News: Stolen Burgers And A Too-real Halloween Display
A New Mexico man is facing charges after police say he randomly slapped a customer and then stole the man's green chile cheeseburger before dashing away. Santa Fe police arrested 25-year-old ... Read News

Low-voltage Differential Signaling - Wikipedia
Low-voltage differential signaling, or LVDS, A dual link can boost the maximum display resolution to 2048 × 1536 both of which trace their development back to the post-Futurebus work, which also led to SCI. In addition, ... Read Article

Photos of Led Display Driver Circuit

AVR241: Direct Driving Of LCD display Using General IO
AVR241: Direct driving of LCD display using general IO Features • Software driver for displays with one common line • Suitable for parts without on-chip hardware for LCD As a low power alternative to LEDs and 7-segment LED-displays, small Liquid Crystal Displays (LCD) with only a ... Access Doc

Led Display Driver Circuit Images

Driving LEDs With A PIC Microcontroller - Light Is OSRAM
Driving LEDs with a PIC Microcontroller Application Note Introduction When using driver circuitry, the layout of the LED array must be taken into account. In there are three possibilities: a matrix connection with a resistor for the entire circuit, a series connection or a matrix ... Doc Retrieval

Led Display Driver Circuit Pictures

Working With LED Display Drivers
LM391X display driver series are the LM3914, LM3915. and LM3916. All three versions use the same basic internal circuit- ry, as shown in Fig. 1, but have different output scaling modes, as shown in Table 1. The LM3914 is a linearly- scaled Working With LED Display Drivers ... Retrieve Full Source

Led Display Driver Circuit Images

2-Wire Interfaced, 3V To 5.5V, 4-Digit, 9-Segment LED Display ...
And 3.3V systems when the display driver is powered from a 5V supply. Application Circuit appear at end of data sheet. MAX6958/MAX6959 2-Wire Interfaced, minimizes the connections between the driver and LED display. The MAX6958/MAX6959 can drive monocolor ... Doc Viewer

Led Display Driver Circuit

Chip-on-Glass LCD Driver Technology - NXP
Led to its increasing adoption for diagnostic viewing of medical to mount the display glass as well as the integrated circuit driving the display directly onto a printed circuit board (PCB). Chip-on-Glass LCD Driver Technology www.nxp.com/medical-interfaces display driver chip-on ... Read Document

Photos of Led Display Driver Circuit

MAX6955 2-Wire Interfaced, 2.7V To 5.5V LED Display Driver ...
MAX6955 2-Wire Interfaced, 2.7V to 5.5V LED Display Driver with I/O Expander and Key Scan www.maximintegrated.com Maxim Integrated | 2 Absolute Maximum Ratings ... Access Full Source

Led Display Driver Circuit

Seoul Semiconductor Files Patent Litigation For Infringement Of 12 Acrich Patents
Acrich technology has become widely adopted not only in generalvoltage products, Acrich technology is necessary to support LED driver technology for high-voltage operations with MJT technology ... Read News

Led Display Driver Circuit Photos

8-Digit, Microprocessor-Compatible, LED Features
The Intersil ICM7228 display driver interfaces microprocessors to an 8-digit, 7-segment, numeric LED decoder, multiplex scan circuitry, LED display segment drivers, LED display digit drivers and an 8-byte static memory as display RAM. Data can be written to the ICM7228A and ICM7228B’s display ... Read More

Led Display Driver Circuit Pictures

Seven-Segment LED Displays - Michigan State University
Seven-Segment LED Displays Nicholas Neumann 11/19/2010 This adds a lot of wiring to the circuit; however the use of a display driver can simplify this by reducing the number of pins required to four. a display driver made by ... Access Doc

Led Display Driver Circuit Pictures

TPS61199 White-LED Driver For Monitor Backlight (Rev. B)
TPS61199 White-LED Driver for LCD Monitor Backlighting 1 1 Features 1• 8-V to 30-V Input Voltage • Integrated High-Power Boost Controller • Adaptive Boost Output for LED Voltages • Drive up to Eight LED Strings in Parallel ... Read Document

No comments:

Post a Comment